RFID (Radio Frequency Identification) adalah salah satu teknologi smartcard (kartu pintar). Disebut pintar, karena kartu ini di dalamnya berisi rangkaian elektronik dalam bentuk Integrated Circuit (IC) yang bisa "berbicara" dengan suatu alat baca tertentu.
Raksasa teknologi yang bermarkas di Cupertino, California, AS yaitu Apple melakukan terobosan yang memungkinkan iPhone berfungsi sebagai paspor dan sebagai alat identifikasi pengguna dengan menyematkan sistem penyimpanan berbasis RFID pada iPhone yang memungkinkan iPhone bisa menjadi paspor atau dokumen imigrasi di masa depan.
Hal itu terungkap dari paten yang diajukan Apple ke United States Patent and Trademark Office (USPTO). Apple memang memasukkan banyak pengajuan paten ke USPTO tetapi tidak semua pengajuan paten akan menjadi produk.
Apple melakukan terobosan yang memungkinkan iPhone berfungsi sebagai paspor dan sebagai alat identifikasi pengguna.
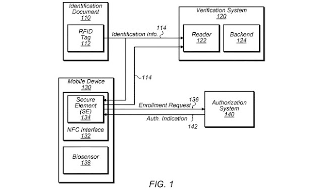
Dalam paten terbarunya, Apple menggungkapkan tentang cara kerja sistem RFID dan sistem itu bisa mengimpor data kredensial dari sumber.
Dengan RFID, iPhone akan mendapatkan sebagian informasi kredensial dari dokumen identifikasi milik pengguna yang diterbitkan secara resmi oleh otoritas, semisal SIM atau kartu keluarga.
Setelah data diperoleh, iPhone akan mengajukan permintaan berbasis radio kepada otoritas penerbit dokumen sah kependudukan. Setelah otoritas menyetujui, iPhone menyimpan data-data kredensial legal milik pengguna.
Raksasa teknologi yang bermarkas di Cupertino, California, AS yaitu Apple melakukan terobosan yang memungkinkan iPhone berfungsi sebagai paspor dan sebagai alat identifikasi pengguna dengan menyematkan sistem penyimpanan berbasis RFID pada iPhone yang memungkinkan iPhone bisa menjadi paspor atau dokumen imigrasi di masa depan.
Hal itu terungkap dari paten yang diajukan Apple ke United States Patent and Trademark Office (USPTO). Apple memang memasukkan banyak pengajuan paten ke USPTO tetapi tidak semua pengajuan paten akan menjadi produk.
Apple melakukan terobosan yang memungkinkan iPhone berfungsi sebagai paspor dan sebagai alat identifikasi pengguna.
Dalam paten terbarunya, Apple menggungkapkan tentang cara kerja sistem RFID dan sistem itu bisa mengimpor data kredensial dari sumber.
Dengan RFID, iPhone akan mendapatkan sebagian informasi kredensial dari dokumen identifikasi milik pengguna yang diterbitkan secara resmi oleh otoritas, semisal SIM atau kartu keluarga.
Setelah data diperoleh, iPhone akan mengajukan permintaan berbasis radio kepada otoritas penerbit dokumen sah kependudukan. Setelah otoritas menyetujui, iPhone menyimpan data-data kredensial legal milik pengguna.
Selain RFID, Apple juga akan menggunakan NFC dan elemen lainnya untuk menyimpan serta memproses data-data pengguna iPhone seperti yang dilansir dari Apple Insider.
Dalam pengajuan paten, Apple juga menjelaskan penggunaan e-Passport di iPhone bahwa Apple akan menggunakan semacam chip di iPhone yang berfungsi menyimpan berbagai data milik pengguna.
Teknologi RFID saat ini sudah masuk ke hampir semua bidang kehidupan. Boleh jadi kita sudah pernah menggunakannya secara tidak sadar. Berikut adalah beberapa contoh kartu pintar RFID.
Dalam pengajuan paten, Apple juga menjelaskan penggunaan e-Passport di iPhone bahwa Apple akan menggunakan semacam chip di iPhone yang berfungsi menyimpan berbagai data milik pengguna.
Teknologi RFID saat ini sudah masuk ke hampir semua bidang kehidupan. Boleh jadi kita sudah pernah menggunakannya secara tidak sadar. Berikut adalah beberapa contoh kartu pintar RFID.
- e-ktp. Kartu Tanda Penduduk (KTP) elektronik atau e-KTP menggunakan kartu pintar RFID. Di dalam kartu yang nampak seperti kartu biasa saja tertanam satu rangkaian elektronik yang menyimpan berbagai data.
- Kartu Indomaret atau Alfamart juga merupakan contoh smartcard
- e-toll card yang digunakan untuk membayar toll di gerbang toll juga merupakan kartu RFID
- tiket KRL dan busway di Jakarta juga sekarang telah menggunakan tiket elektronik yang menggunakan teknologi RFID
- kunci hotel yang menggunakan kartu juga merupakan teknologi RFID
- e-cash seperti e-money dan flazz juga menggunakan teknologi RFID

